Para qué engañarnos: la nueva patente de Nintendo nos ha pillado a contrapié. Y nunca mejor dicho, porque para comenzar no es algo que tenga que ver (a priori) con los videojuegos a los que ya nos tienen acostumbrados desde el país del Sol Naciente, sino que su invento tiene patas. Y se mueve. Arranca solo o con un empujoncito y no necesita llevar ningún accionamiento eléctrico ni electrónico. ¿Magia? No: este campo de investigación se llama dinámica pasiva.
Muchos estudiantes de ingeniería tenemos enquistada en la cabeza la tercera ley de Clarke: «Toda tecnología lo suficientemente avanzada es indistinguible de la magia». Pero claro, muchos de nuestros lectores todavía estarán preguntándose qué es lo que permite a este engendro mecánico moverse sin necesitar motores. Con un poco de explicación es sencillo ver, con conceptos básicos, el gran motor invisible (e inmaterial) que obra el milagro.
Principio de funcionamiento: no son duendecillos, es la energía mecánica
Ahorrémosnos todos el sufrimiento de la física obligatoria con un ejemplo sencillo: no sabemos muy bien por qué, pero las cosas se caen en este mundo. Las cosas que se caen desde más alto también se la pegan más fuerte (con un matiz). Uno de los conceptos más importantes que relacionan lo alto que estás con la leche que te vas a pegar si te caes es la energía mecánica, suma de la energía potencial y la cinética, y que debe permanecer constante (en términos físicos se dice que se conserva) si no hay fenómenos disipativos. Esto es más o menos como puede verse en este vídeo de unas patas que funcionan de forma similar:
En el vídeo se ve como un expositor está constantemente empujando estas patas. ¿Qué ocurre? Pues que nos damos de bruces con la realidad. En el mecanismo hay un pequeño rozamiento entre las piezas que es responsable de una pérdida de energía mecánica (disipación) en forma de calentamiento. El empujoncito continuo es un aporte que permite que el aparato siga funcionando permanentemente al compensar esta fricción. Pero, ¿a que si nos ponen una cuesta abajo parece que nos resulta más fácil andar? Pues la solución que compensa las pérdidas en sistemas dinámicos pasivos es la misma: usar una pequeña cuesta abajo (¡un aporte continuo de energía potencial!). Así se consigue una «nueva» forma de mantener constante esta energía mecánica.
Eso es todo. El principio sobre el que funciona no es nada inasumible, ¿verdad?
Una patente que le busca más de tres pies al gato
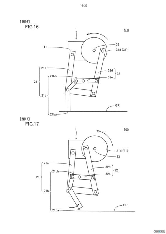
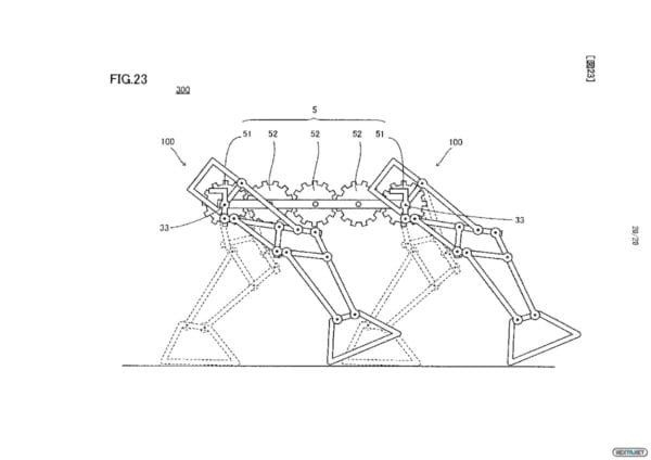
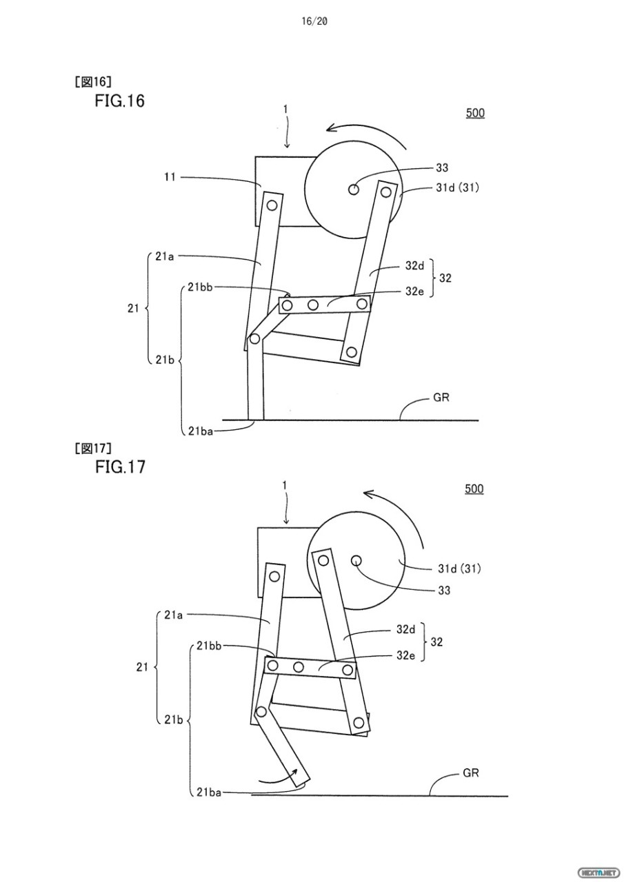
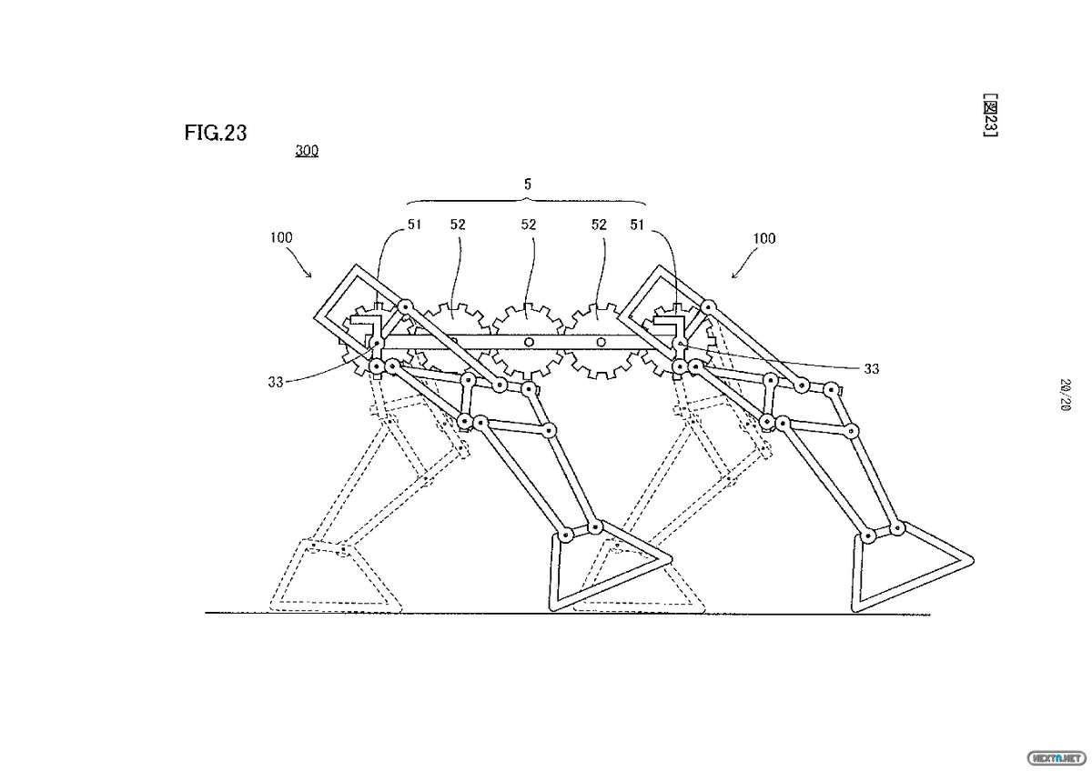
El propósito de esta propiedad industrial es sencillo: se parte de una antigua patente japonesa de 2011 que desarrollaba la misma idea, pero que no era capaz de mantener la andadura de forma estable porque no se sincronizaba el movimiento de la pierna izquierda con la derecha. La mejora de Nintendo consiste en insertar un par de piezas y un cigüeñal que permite orquestar el movimiento de ambas extremidades de forma que estén «en contrafase». Vaya, como esa manía humana de coordinar las piernas para que cuando una está apoyada y empujando el suelo hacia atrás, la otra está levantada y preparándose para pisar adelante, cosa que sabemos muy bien que permite andar.
En la patente aparecen un total de cuatro modelos de piernas (galería de arriba), de donde el primero de ellos tiene un par de modificaciones propuestas que no cubrimos aquí; y dos posibles bastidores en los que colocarlas (galería de abajo), uno con dos y otro con cuatro patas. Es posible hacer un análisis mecánico detallado del funcionamiento de cada una de las piernas, ¡pero no podemos hacerlo aquí porque podría tomarnos meses y meses! Por suerte, el movimiento de una pierna a grandes rasgos es más o menos intuitivo, por lo que no es tan difícil imaginarlas en funcionamiento. Hemos tomado solo una pequeña muestra ilustrativa, pero si no son suficientes siempre se pueden encontrar más en la fuente.
Obviamente, en el texto de la patente se dice que su idea de propiedad no se limita a estas formas sino que son ejemplos y que cualquier variación que funcione de la misma forma debería ser considerado propiedad suya.
Y todo esto, ¿pata qué? Digo, ¿para qué?
Pues depende. Que todo esto esté patentado no implica que Nintendo vaya a hacer uso de ello. De momento, solo podemos especular los motivos para los que se podría utilizar este contenido de propiedad industrial. Siendo cabales, pero dejando volar un poco la imaginación:
- La patente es meramente defensiva y se utiliza para bloquear su uso a cualquier otra compañía, de modo que Nintendo no pretende hacer uso de ella, o cobrar un canon de explotación a terceros que quieran hacer uso de ella.
- Puede tener relación con algún dispositivo de la gama QoL, si esta línea sigue viva. ¿Qué fue de ella tras todo este tiempo? También se puede usar con valor médico, como ayuda a la rehabilitación de pacientes.
- El uso más obvio es que estas piernas se pueden montar sin problemas en un robot autónomo. Se puede utilizar para diseñar un nuevo dispositivo de juego. ¿Podemos esperarnos un nuevo ROB o similar?
- Tal vez tenga uso dentro de alguna atracción diseñada para la zona Nintendo dentro de un parque de Warner Bros. pero, ¿no sería entonces lógico que la patente estuviera en manos de la propia compañía que gestiona el parque?
No olvidemos que la dinámica pasiva es un campo de investigación muy activo en la actualidad, debido a que al no necesitar fuentes de energía externa para conseguir movimiento se consigue una eficiencia energética muy buena. Puede que Nintendo tenga el ojo puesto en sistemas mecánicos pasivos por alguna razón, o no.










