Nintendo lleva muchos lustros innovando en cuanto a jugabilidad en cada consola de sobremesa. Con Nintendo 64 (re)introdujo el joystick analógico, con Wii el control por movimientos, con Wii U la pantalla integrada en el mando y el lector NFC, y en Switch los mandos desacoplables para jugar en portátil o sobremesa. Muchas de esas innovaciones se han mantenido en las siguientes generaciones, como el control por movimientos. Lo más seguro es que veamos algo nuevo con la nueva consola. Y la patente que Nintendo ha registrado en Estados Unidos y que se publicó el 3 de agosto nos da una pista clara sobre lo que nos podríamos encontrar en los mandos de control de la rumoreadísima Nintendo Switch 2.
Posición y velocidad de movimiento en 3 ejes
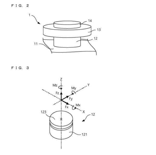
En la imagen de esta patente se puede lo que sería algo parecido a un joystick. En la redacción de la patente se describe que los sensores detectarían la posición en el eje X, en el Y, y en el eje Z. ¿Y qué es esto del eje Z? Esto daría a entender que el joystick direccional se puede girar en sentido horario o antihorario sobre el mismo eje. Como si fuese una rueda.
También se menciona que el DSP que integraría el mando no solo enviaría a la consola la posición del mando, sino también el momento de cada eje. Dicho de otra forma, lo que vendría a ser la velocidad a la que se está moviendo el mando en ese momento. Hay un diagrama que pone de ejemplo de acciones por movimiento del propio mando.
Por ejemplo, si el personaje está avanzando, con el mando en posición arriba, y en un momento dado se mueve rápidamente el mando hacia derecha o izquierda, el personaje podría hacer un movimiento de esquive lateral y salto sin necesidad de usar otro botón para dicha acción. Si el movimiento de arriba hacia uno de los laterales se hace de forma rápida pero no tanto, sería un equive lateral. Si no se hace con la suficiente velocidad, el personaje no haría la acción de esquive, sino que simplemente caminaría en la direccción apuntada. Esto abre una cantidad de posibilidades muy grande.
La patente va más allá: Circle Pad 2.0 con accionador extra
Pero estas no serían las únicas novedades. Además de lo anterior, el control contaría con un accionador extra. Como se ve en las imágenes de las figuras 7 y 8, además del movimiento en los ejes X e Y (eje Z aparte), el mando tiene la posibilidad de inclinarse. En el ejemplo mostrado en la figura 8, el jugador puede mover el mando a la derecha y además inclinarlo hacia la derecha o hacia la izquierda, activando una acción adicional.
Esto lleva a que se puedan hacer más acciones sin levantar el pulgar del joystick, aunque por el dibujo parece más un Circle Pad 2.0. Se podría especular que este Circle Pad aunaría las funciones de joystick y cruceta dos en uno, simplificando el posible Joy-Con. Esto también aplicaría al derecho, aunando los botones de acción ABXY en dicho Circle Pad. También es posible que la cruceta y los botones de acción sigan existiendo en «Nintendo Switch 2» y que esto sean para acciones extra.
En cuanto al temido drift, parece que va a ser cosa del pasado (aún presente). Los sensores serán piezorresistivos. Estos sensores funcionan por cambios en la resistencia de una superficie de silicio según la presión que se ejerce sobre ella. Un tecnología menos susceptible de fallos por entrada de polvo o deformación de la base del joystick que la que usan actualmente la mayoría de los joysticks.
Ahora solo queda tener paciencia y ver si Nintendo va a terminar integrando las características citadas en su patente a sus nuevos Joy-Con. ¿Qué usos o posibilidades crees que tendrían estos posibles Circle Pads 2.0?







