Hoy hemos podido tener acceso a una patente de Nintendo realmente curiosa. Seguro que muchos de vosotros os habéis hecho con un Circle Pad Pro para vuestras 3DS, ¿os imagináis que en vez de tener que acoplar ese aparato hubieráis podido intercambiar las piezas de la consola para colocar un stick analógico, una cruceta o más botones?, pues parece que los de Kioto han pensado en algo así:
«Un dispositivo de procesado de información, tal como una máquina de juegos o un teléfono móvil, está provisto de una unidad de operaciones con uno o más botones, interruptores o similares que reciban la operación del usuario. Una máquina de juegos, por ejemplo, está provista de una cruz, un stick analógico, un botón de presionado operacional o similares, para aceptar operaciones que conciernen a un movimiento o una acción de un personaje en un juego, o operaciones que conciernen a varios juegos como por ejemplo la selección de un menú. Por otra parte, un teléfono móvil está dotado, por ejemplo, de un botón accionado mediante presión con el que se escribe un número, una letra o similares; y también está dotado de una tecla direccional o stick analógico de, por ejemplo, 4 u 8 direcciones, para aceptar operaciones relacionadas con hablar, envío/recepción de correos eléctronicos, etc.»
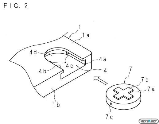
«De acuerdo con la presente realización de máquina de juegos, viendo el instrumento de operación número 7 de la ilustración, varios intrumentos tipo 7 que posean diferentes estructuras podrían ser unidos a través de la unidad de conexión 4. En el instrumento de operación 7, un CI (Circuito Integrado) o similar poseerá una función de comunicación inalámbrica integrada. La máquina de juegos determinaría de qué tipo es el instrumento de operación 7 conectado al puerto 4 mediante comunicación inalámbrica. La máquina de juegos posee una función para detectar la operación realizada por el usuario sobre el instrumento 7 conectado. Esto permite que la máquina de juegos acepte dicha operación para actuar sobre el juego. En otras palabras, la máquina de juegos puede cambiar la acción a realizar según el tipo de dispositivo 7 que se encuentre conectado al puerto 4.»
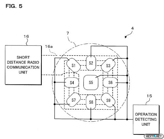
«9 sensores de presión (S1-S9) están colocado en forma de matriz 3×3 en la superficie interior 4d de la unidad de conexión 4. Un sensor de presión S5 localizado en el centro tiene una forma similar a la de un cuadrado. Cada uno de los 8 sensores S1-S4, S6-S9 están colocados siguiendo un patrón radial con respecto al sensor S5 del centro. Los sensores de presión S1-S9 están colocados de forma que el centro del instrumento de operación 7 corresponda al centro del sensor de presión S5 una vez se encuentra conectado a la unidad de conexión 4. En la fig. 5, el instrumento 7 se encuentra representado como una circunferencia de líneas y puntos. Cada uno de los sensores S1-S9 está conectado a la unidad de detección de operaciones 15 a través de una línea de señal. Cada uno de los sensores de presión manda una señal de salida a la unidad de detección como respuesta a la presión aplicada. La unidad de detección 15 determina de forma independiente, basándose en la señal recibida, si se ha aplicado o no presión sobre los sensores S1-S9. Además, dicha unidad tendrá que determinar la intensidad de dicha presión.»
«Las figs. 6A a 6D muestran ejemplos de ilustraciones esquemáticas mostrando las posibles formas del instrumento de operación 7. El mostrado en la fig. 6A tiene partes indicadas como 7b, colocadas para tener una relación de posición en la que 4 partes circulares se encuentran situadas de forma similar a los vértices de un diamante. Este instrumento de operación aceptaría las mismas operaciones que los 4 botones de presión 3c-3f (Primera ilustración) de la unidad de operación 3. El instrumento 7 se usa para aceptar operaciones referentes a una acción como atacar o saltar realizada por un personaje, por ejemplo, o para aceptar o cancelar un elemento del menú seleccionado. De aquí en adelante, el instrumento de operación 7 será referido como ‘Instrumento de Operación 7 de cuatro pulsadores.’ Cuando este instrumento se conecta a la unidad 4, la unidad de detección 15 detecta las operaciones que usen los 4 sensores de presión S2, S4, S6 y S8 correspondientes a la colocación de las partes circulares 7b. La unidad de procesamiento del juego 32 acepta operaciones del instrumento 7 realizadas al operar cada uno de los botones. La unidad 32 realiza procesamientos en el juego de acuerdo a la operación de cada botón de presión.»
«El instrumento de operación 7 ilustrado en la fig. 6B posee elementos 7b colocados en línea recta. La finalidad del instrumento de operación 7 es aceptar operaciones asignadas a 3 pulsadores. De aquí en adelante, el instrumento de operación 7 será denominado ‘Instrumento de Operación 7 de tres pulsadores.’ Cuando este dispositivo se encuentra conectado a la unidad de conexión 4, la unidad de detección de operaciones 15 detecta las operaciones usando los 3 sensores de presión S3, S5 y S7 correspondientes a la disposición de los elementos de 7b. La unidad de procesamiento de juego 32 acepta las operaciones correspondientes a cada pulsador del instrumento 7, actuando en concordancia con las operaciones de cada botón de presión.»
«El instrumento de operación 7 mostrado en la fig. 6C está dotado de un elemento circular 7b. La función de este instrumento es la de aceptar una operación similar a la de un pulsador. De aquí en adelante, este instrumento de operación 7 recibirá el nombre de ‘Instrumento de Operación 7 de un pulsador.’ En el caso en que esté instrumento se encuentre conectado a la unidad de conexión 4, la unidad de detección 15 detectará las operaciones usando todos los sensores de presión S1-S9. Actuará con tan solo detectar presión sobre uno de estos sensores. Por tanto, será posible que la unidad 15 detecte una operación que use, por ejemplo, el sensor de presión S5. La unidad de procesamiento de juego 32 acepta la operación recibida por la unidad 7 como la de un pulsador, actuando en consecuencia sobre el juego.»
«El instrumento de operación 7 ilustrado en la fig. 6D tiene una estructura en la que una parte indicativa 7b formada para representar a un personaje de juego tridimensional está colocado sobre la unidad base 7a. La finalidad del instrumento de operación 7 es la de operar de forma que, por ejemplo, un personaje específico para que aparezca en un juego específico. De aquí en adelante, este instrumento de operación 7 será referido como ‘Instrumento de Operación 7 de Personaje.’ Diversos tipos de instrumentos de operación 7 de personaje serían preparados para hacer que diferentes personajes aparezcan en un juego y pueda operarse con ellos. En el caso en el que este instrumento 7 esté conectado a la unidad de conexión 4, de la que uno de los sensores de presión S1-S9 es usado por la unidad de detección de operación 15 para detectar la operación correspondiente según el contenido del juego. Por ejemplo, en un juego que use el instrumento 7 para mover a un personaje, la unidad 15 detectará las operaciones que usen los sensores S2, S4, S6 y S8 como en el caso de la fig. 6A. Cuando la operación es aceptada, la unidad de procesamiendo de juego 32 actuará en el juego sobre un personaje de forma correspondiente al instrumento 7 conectado a la unidad 4, por ejemplo, moviendo al personaje.»
A continuación tenéis un esquema con todas las unidades implicadas en las descripciones anteriores:
De llevarse a cabo, esta patente daría muchísimo juego, conociendo a los chicos de Nintendo, podríamos toparnos con piezas de todo tipo para conseguir experiencias de juego de lo más variopintas. El tiempo dirá si acabamos viendo esto hecho una realidad o como algo que ha quedado en el limbo de las ideas.












Debe estar conectado para enviar un comentario.