Sabemos que Universal Studios va a estrenar una zona dedicada a la Gran N en su parque temático de Osaka de cara a los Juegos Olímpicos de Tokio 2020. También conocemos que se llamará Super Nintendo World, que abarcará un inmenso entorno repleto de atracciones vanguardistas, zonas interactivas, restaurantes, todos ellos protagonizados por los juegos y personajes más queridos de la compañía nipona… pero lo que desconocemos, aunque podamos imaginarnos, es precisamente qué atracciones nos encontraremos en Universal Studios Japan.
Y es que especular con las franquicias protagonistas no sería cosa complicada, incluso imaginar qué uso se le podría dar a cada una de ellas. Por suerte para nosotros, las patentes son nuestras amigas a la hora de desvelar que nos podría deparar el futuro, pues lo reflejado en ellas no siempre tiene por qué hacerse realidad… pero en el caso de esta patente basada en una patente registrada, no por Universal Studios Japan, sino por el parque de Orlando (está claro que las zonas Nintendo de Universal se extenderán más allá del parque nipón) que ofrece claras pistas sobre una posible atracción basada en Mario Kart, incluso detallando su funcionamiento.
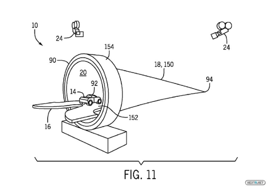
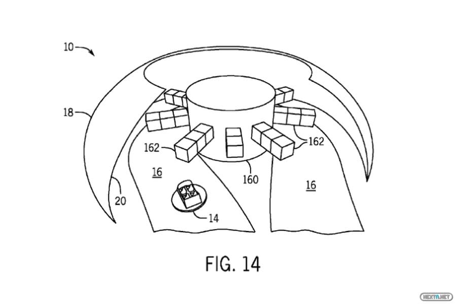
La patente en cuestión habla de una atracción llamada «Amusement Park Ride Tunnel», indicando que se trata de una un sistema de paseo que incluye un túnel, un vehículo (no necesariamente un kart) que se desplaza por un camino dentro del túnel y un sistema de proyecciones que muestre imágenes en una o varias paredes del túnel. De hecho, no se menciona «Mario Kart» en ella, pero se podría decir que las tuberías vistas en las imágenes, y los elementos detallados, delatan a sus autores… Con Mario Kart 8 Deluxe a la vuelta de la esquina, es curioso incluso que se desvele justo ahora… pero tan solo podría ser pura coincidencia…
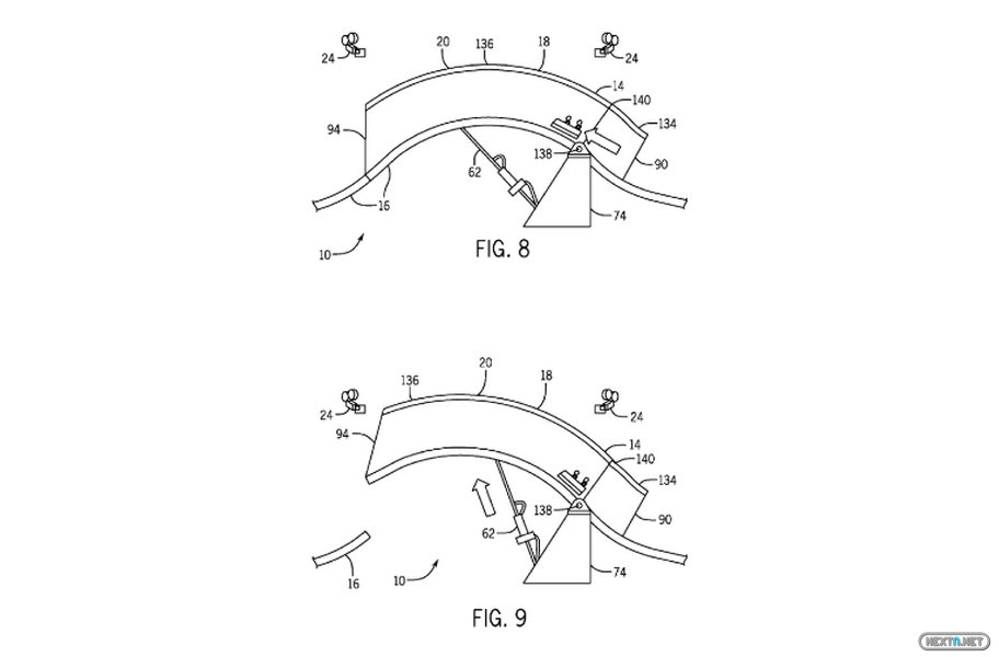
En ocasiones, las imágenes de una patente no suelen dar muchas pistas, incluso pueden llegar a ser confusas, pero en este caso es bastante gráfico, permitiéndonos imaginar un vehículo que se desplazaría automáticamente por un camino guiado, encargándose los proyectores de meternos en una alocada carrera de Mario Kart. En una de las imágenes podemos ver como el vehículo entra en el túnel por una especie de tubería, incluso hay caminos alternativos, lo que podría sugerir que los ocupantes puedan interactuar de alguna forma con el trazado.

Pero más detalles del texto que acompaña a esas imágenes nos hacen desear algún día poder probar esta atracción de Mario Kart. Por ejemplo, se habla de que el túnel ofrecerá la ilusión de velocidad, tan característica de esta serie, gracias a las imágenes, que bien podrían reflejarse en las paredes por medio de proyectores, aunque también se habla de pantallas LCD que mostrarían «cielo, nubes, árboles, construcciones, cuerpos en apariencia de agua, vida salvaje, aviones, trenes y otros vehículos similares», así como efectos como viento, luces, o cambios significativos de velocidad, que ayudarían a meternos en esta aventura de velocidad.
En definitiva… ¡deseamos probar esta atracción de Mario Kart! Ojalá en unos años, de hacerse realidad esta patente (podría simplemente ser una atracción genérica de carreras o basada en otra franquicia… aunque nos da que no será el caso), estemos contándoos las impresiones desde un parque de Universal Studios que cuente con ella. Si lo haces tú antes, ¡estaremos deseando escucharte!










