Hoy han sido publicadas tres nuevas patentes en la Oficina de Patentes y Marcas de Estados Unidos, presentadas por Nintendo a finales de enero y principios de febrero, que podrían estar relacionadas con Nintendo NX. Dos de ellas se refieren al uso de cámaras infrarrojos (IR) para la detección de gestos y posicionamiento tridimensional de la mano al jugar (aunque nada indica que no puedan utilizarse otros objetos cualesquiera); y una tecera relacionada con el uso de los controles desmontables, que de hecho parece ir en consonancia con parte de los datos que ya confirmaron hace poco en Eurogamer. Todas ellas hacen referencia a un mismo aparato, al llevar siempre la misma apariencia y el mismo diagrama de bloques.
Y es que precisamente la cámara infrarrojos, situada en un lateral del propio dispositivo y marcada en el diagrama de bloques con el número 4, es la que parece ser protagonista absoluta en estas tres patentes.
Patentes de detección de posición y gestos: ojito con esas manos
Una de estas patentes utilizaría la cámara infrarrojos a fin de detectar un gesto en principio estático del usuario, a través del contorno del objeto que aparezca en la imagen. En uno de los ejemplos de uso propuestos en la propia patente se muestra una región que indica el rango de detección de la cámara a través de un marco en la pantalla del dispositivo, junto al propio gesto capturado desde la cámara. Aunque aquí no aparezca ningún gesto dinámico (en la próxima patente sí se muestra de forma explícita), siempre es posible obtener un gesto dinámico a través de una composición en el tiempo de varios gestos estáticos.
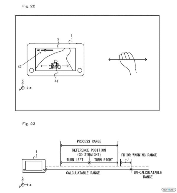
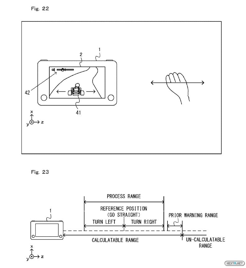
Esta otra patente se basa en la localización tridimensional y detección de gestos dinámicos del usuario. Suponemos que lo hará con algún apoyo del sensor de distancia (número 5 en el diagrama de bloques) porque aún hoy las cámaras de profundidad, aunque son baratas, no funcionan del todo bien en todas las superficies. Los gestos de ejemplo con una mano son sencillos: movimiento simple, apertura y cierre, giros, movimiento de un dedo…; y también se muestran otros más complicados como tocar el dispositivo en el lado de la cámara o acercarse (inicialmente con el puño cerrado) a él mientras se va abriendo la mano, vienen detallados con mucha precisión. También se muestra un ejemplo de juego sencillo, controlado con gestos, como se puede ver a continuación:
Control desmontable, también por infrarrojos
En la tercera patente se muestran por fin varios ejemplos de mandos desmontables del aparato. En principio tiene un parecido bastante razonable con algunos de los diseños propuestos por Eurogamer y fans pero no deja de ser interesante ver cómo se acopla a la cámara IR y que la detección de entradas se basa en capturas de imagen, para lo que su carcasa tendrá necesariamente que tener una parte visible desde el exterior. Parece que habrá varios tipos de mandos y que el propio dispositivo será capaz de hacer una autodetección y calibración para adaptarse al mismo, lo cual abre la veda para posibles diseños distintos de los mandos.
Es curioso observar que en la patente no se muestra ningún tipo de conexión física de alimentación para los mandos desmontables. En caso de que realmente no la haya, podemos aventurar que este puede alimentarse a través de inducción electromagnética o, mucho más sencillo, no necesitar alimentarse en absoluto dado que el dispositivo principal tiene algo que sirve de iluminación (número 7 en el diagrama de bloques) y los controles harán «sombra» al ser pulsados, que podrían ser interpretados como acciones.
Fuentes:












