Allá por finales de 2014 nos llegaban rumores de una colaboración bastante particular entre Nintendo y Sharp. Los dos gigantes podrían estar colaborando para emplear la tecnología Free-Form Display -pantallas con forma de cualquier tipo- en un posible producto de la Gran N. Todo aquello quedó en un mero rumor al que no se le dio más bombo debido al silencio por ambas partes, y también porque se apuntaba que los de Kyoto querían una especie de pantalla con forma de donut -¿estamos locos?-. Ahora, tras una patente que nos da pistas sobre el uso de complementos para aumentar la potencia tanto a nivel local como mediante la nube, se revela otro registro hecho por Ninty que podría traer más pistas sobre NX. La cosa va de mandos autónomos y tutelados por Sharp.
¿La evolución del GamePad de Wii U?
Dicen que una imagen vale más que mil palabras y, aunque os traemos un buen puñado de ellas, vamos a ir desgranando toda la información que se desprende de este registro. Al parecer, este mando-pantalla, además de detectar movimientos, cuenta con un panel que hace las labores de pantalla táctil,perforado a ambos lados -zonas 18a y 18b en la primera imagen- para poder albergar dos sticks de control. De esta forma, se pueden mostrar imágenes en movimiento que podrían «rodear» a nuestros dedos en el propio mando. Por supuesto, habría botones en el borde superior del pad -20a y 20b en la ilustración-.
Podríamos pensar lo siguiente: «Vale, sí, es como el GamePad pero con pantalla extendida a todo el mando.» Sin embargo aquí llega otro factor realmente importante y que también aparece en la descripción de este producto en potencia: la posibilidad de mostrar imágenes en tres dimensiones. El display con el que cuenta es capaz de realizar un efecto estereoscópico como el de 3DS, algo que, si hilamos un poco con otra patente revelada hace tiempo, podría llevarnos a la conclusión de que los japoneses están apuntando a mejorar este efecto más todavía para aplicarlo a este posible mando.
El panel táctil que iría junto a la pantalla sería de tipo capacitivo, en lugar de resistivo. Además, el formato de vídeo sería 16:9 -panorámico-, algo acorde a los tiempos que corren, y el pad contaría a su vez con un lector de tarjetas. Este último elemento también es especialmente llamativo, y es que, si miramos a lo revelado con la difusión de los devkits de NX, donde se mencionaban varios aparatos que podían funcionar tanto juntos como por separado, podríamos empezar a pensar en esta patente como el posible mando de la nueva consola de Nintendo.
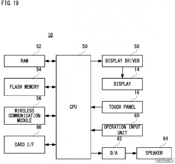
Para finalizar el desglose de este interesante mando de Nintendo, obviando el particular método de introducción de texto mostrado en la última de las imágenes de la galería superior -no os asustéis, está basado en la escritura japonesa-, vamos a echar un breve vistazo al diagrama de bloques que cierra la descripción. En él, se ven los componentes que integran el pad, y de nuevo encontramos otro elemento que reforzaría lo mencionado en el párrafo anterior. Este aparato que estamos tratando contaría con todos los elementos necesarios para trabajar de forma autónoma: memoria tanto RAM como Flash, CPU, controlador gráfico e interfaz de procesamiento de señales. Por supuesto, no podemos obviar el dispositivo de comunicación inalámbrica e incluso el altavoz con el que emitir sonidos.
Hay que recordar de nuevo que toda posible conexión con un producto final lanzado por la compañía es mera especulación. Si bien es cierto que más de una de las patentes que hemos visto surcar la red de redes ha acabado materializándose en algo tangible y lanzado al mercado, hay muchos proyectos que acaban quedando relegados al baúl de los recuerdos hasta ser rescatados en un futuro.
El problema es que, si comenzamos a unir cosas por aquí y por allá, el puzle de NX comienza a tomar una forma realmente interesante si tenemos en cuenta los últimos registros revelados. Quién sabe, quizás estemos teniendo las pistas delante de nuestras propias narices, o quizás sólo estemos construyendo unos castillos en el aire que Nintendo derrumbará en 2016. Sea como fuere, tendremos que esperar.











