Parece que, a fin de cuentas, no es necesario que estemos todos dándonos cabezazos, anticipándonos al madrugón del viernes trece de enero para ver la presentación oficial (esta vez sí) de Switch. Ayer mismo fue publicada una nueva patente de Nintendo, que solicitó a mediados de junio, que podría traer un descomunal torrente de nueva y jugosa información sobre la consola que se traen los nipones entre manos. Ya nos gustaría estar exagerando, pero no es así cuando la citada patente muestra cualitativamente y con todo detalle el posible funcionamiento de Switch, los mandos acoplables conocidos como Joy-Con (y accesorios para poder manejarlos más cómodamente), ¡e incluso un casco para realidad virtual! El citado texto de propiedad industrial tiene una envergadura que asciende a un anecdótico tamaño de 147 páginas, con 43 figuras. ¡Toda una locura!
Nos hemos armado de valor y paciencia para bucear en las entrañas de semejante coloso y os traemos la información más valiosa que hemos podido filtrar. Aunque lo hemos intentado evitar, puede que se nos haya escapado algo de interés entre la selva de texto.
La unidad central de Switch, una caja de sorpresas
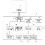
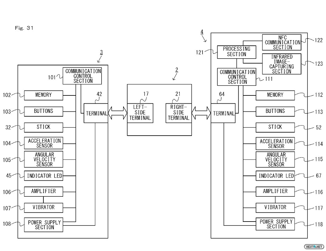
Ya intentamos vaticinarlo a partir de un diagrama de bloques de una patente anterior. El nuevo diagrama ha quedado más o menos parecido, pero con muchos matices ya que los bloques son más específicos. Si lo que se ve es fiel al producto final se pueden observar dos detalles de mayor importancia:
- La unidad central tiene dos ranuras (slots) para insertar tarjetas: Según se puede ver en las imágenes y se describe en el texto, una de ellas se podría encontrar arriba, que sería la destinada a leer las tarjetas de juego; mientras que la segunda se trataría una tarjeta de memoria dedicada para el propio sistema.
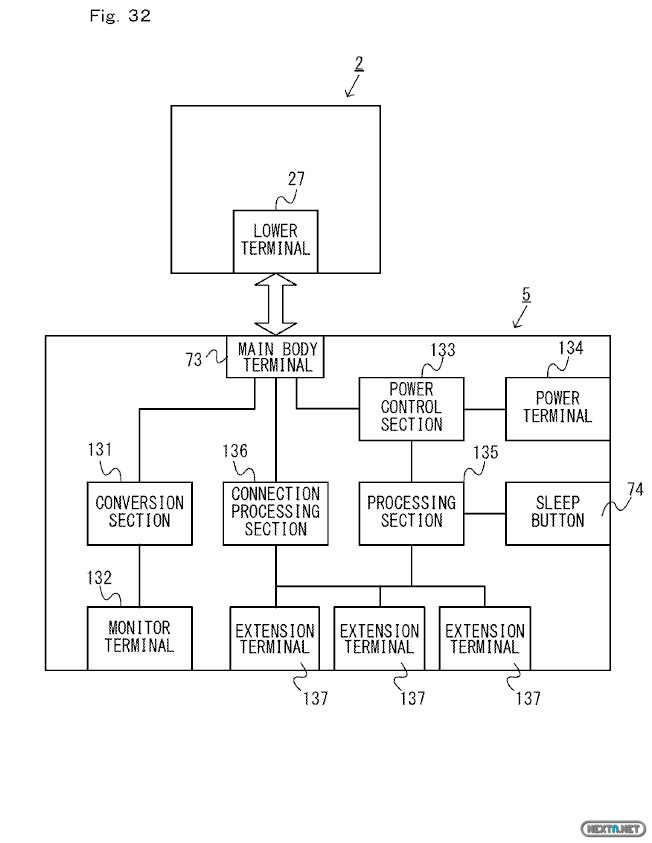
- Las «terminales» amplían la funcionalidad de la unidad central: Los bloques «terminal» son los fieles compañeros de batalla que acuden al auxilio de la unidad de Switch en cuanto se conectan. Están las terminales izquierda y derecha, que corresponden con los mandos que se puedan acoplar a la consola (se comentará posteriormente), la terminal de entrada/salida de sonido y la terminal inferior, que es donde la consola se conectará a la base y tiene una apariencia muy similar a la de un USB tipo C. Entre las capacidades de ésta se menciona que al estar conectada, además de la carga de batería y conexión con otros posibles dispositivos USB, la salida a televisión podría tener mejor calidad gráfica porque la propia patente distingue entre modo consola y modo portátil.
Otras sorpresas, ya menos impactantes, son los sensores de los que dispone la unidad. Entre ellos se encuentra una pantalla multitáctil, un giróscopo y un acelerómetro que (salvo lo primero) no deberían sorprender a nadie que tenga una consola de la familia 3DS o una Wii U. Atrás quedaron algunos aspectos del anterior prototipo, como la cámara exterior o el proyector; y otras características pasan a formar parte de los Joy-Con, como se verá a continuación.
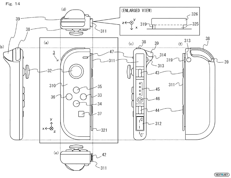
Los Joy-Con, mandos acoplables que esconden muchos secretos
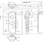
Dotados de un sistema de sujeción que permite que no se desmonten de la unidad principal por accidente, a los Joy-Con no les faltan los botones. Se encuentran muy bien surtidos de botones para uso general, ya que además de los botones frontales y laterales, ambos albergan un par de botones «sorpresa» más en la cara de los raíles de sujeción a la unidad principal, que serían los que hicieran las funciones de L y R, además de un indicador luminoso de batería restante y botones específicos según se trate de un mando izquierdo (botón – y captura de pantalla) o derecho (botón + y botón HOME). El accesorio con forma de mando tradicional que sirve para montar las partes de los Joy-Con actuará, además, de batería externa.
La patente muestra, además, distintas posibles versiones de Joy-Con para Switch con crucetas o botones en lugar de un joystick. Pero no son simples mandos inalámbricos con una cantidad variable de botones que se pueden deslizar en la estructura principal de Switch: cada pequeño Joy-Con monta un giróscopo, acelerómetro y vibración independientes. Y además el derecho trae lector NFC y una pequeña cámara de infrarrojos según el diagrama de bloques, pero se aclara que podría ser también ser de luz visible.
La flexibilidad de Switch tampoco termina ahí, porque parece que cada consola será capaz de leer hasta dos pares de mandos, permitiendo un modo multijugador de hasta cuatro jugadores.
Aunque en el texto se especifica que la cámara infrarrojos lateral se utilizará para lectura de gestos y para determinar el posicionamiento del Joy-Con derecho respecto de un marcador fijo, no podemos dejarnos de preguntar si además retomará la función del abandonado Wii Vitality Sensor. Ya que se incluye un irradiador infrarrojos (no indicado en el diagrama de bloques, podría considerarse un «flash» antes de la foto pero de luz no visible), a través de la lectura de la cámara podría conocerse la frecuencia cardíaca del usuario por pulsioximetría. No obstante el Vitality Sensor fue cancelado porque este método no se puede aplicar universalmente a personas sanas, por lo que creemos que no es muy probable que se utilice con tal intención.
Realidad virtual, ¿eres tú?
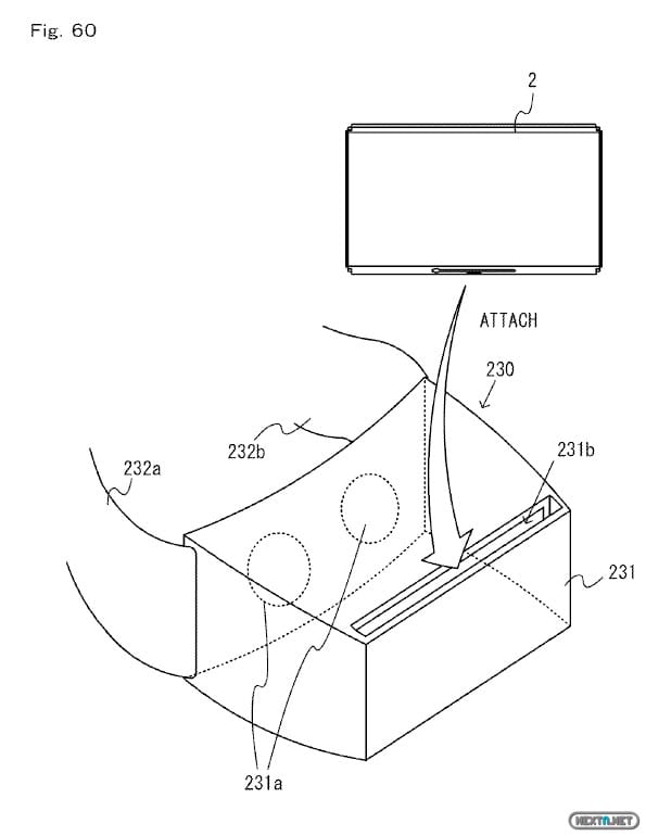
Estamos más que mareados con la relación de Nintendo con la realidad virtual; y es que antes se rechazaba al ser una tecnología muy prematura; o al menos hasta una reciente aceptación por parte de Kimishima. Esta aceptación podría consumarse con la aparición de una figura en la patente que comprende un casco de realidad virtual compatible con Switch y que permitiría una experiencia de juego en realidad virtual inmersiva gracias a los sensores de giro y posición de los que dispone la unidad central de Switch. El accesorio incluiría lentes para adaptar las imágenes que mostraría la consola, cosa que se esclarece en el texto pero no aparece en la figura:
Como habéis visto, todo esto es una auténtica sobrecarga de información. Parece que Nintendo ha querido tocar todos los palos con la Switch para que haga honor a su nombre: será una consola portátil y de sobremesa; con controles táctiles, gestuales y tradicionales; e incluso una consola al uso y a la vez de realidad virtual. Pero todo esto es solo el texto de una patente, ¿lo veremos en el producto final?



















